DES PRODUITS
Vous êtes ici: Accueil » Des produits » Équipement d'essai de bitume » Autre équipement » Testeur de teneur en sel de pétrole brut

catégories de produits

Ajouter:9F, bâtiment Jintai, Nanping, district de Nan’an, Chongqing, Chine
Directeur:Mme Ivy Zhang
Mobile: +86 15823877847

Tel:+ 86-23-62984892
Fax:+ 86-23-62940030
Email:master@hy-industry.com Skype:marguerite_taoyy

Whatsapp:+86 15123029636

loading

Partager sur:
sharethis sharing button

Testeur de teneur en sel de pétrole brut

Le testeur de teneur en sel de pétrole brut est un instrument utilisé pour mesurer la teneur en sel en huile brute. Son principe de travail est principalement basé sur des méthodes d'analyse chimique, tels que l'extraction des sels de l'huile brute et la détermination de la teneur en sel en utilisant des électrodes spécifiques ou des méthodes de titrage chimique. Ceci est crucial pour le contrôle de la qualité et le traitement ultérieur de l'huile brute, car une teneur excessive en sel peut entraîner la corrosion de l'équipement et la désactivation du catalyseur.
État de disponibilité:
Quantité:
  • Testeur de teneur en sel de pétrole brut-2

  • GOLD

⑵ Entonnoir de dépôt cylindrique: Il est utilisé pour ajouter du toluène chaud, de l'éthanol absolu, de l'acétone et d'autres réactifs et de la séparation quantitative de liquide.

⑶ Condenseur: Condense le gaz distillé.



⑷ bouton de réglage de la température: utilisé pour chauffer la solution de test qui doit être chauffée.


Piston de l'entonnoir de séparation: le piston de contrôle de l'extracteur pour décharger la solution.

Flash Erlenmeyer: Flash Erlenmeyer à bouche broyante, utilisé pour recevoir la solution déchargée du ballon.

⑺ Plug de l'aviation: Fil de chauffage d'extracteur Plug d'alimentation de travail

Principal

echnical

arraters

1. Extracteur: Respectez les spécifications et les dimensions de la verrerie dans la norme GB / T6532.

2. La puissance de chauffage de l'extracteur: 300W × 2


3. Alimentation électrique: AC (220 V ± 10V), 50Hz TRemarques: PLe client doit préparer l'agitateur magnétique et le titrateur potentiométrique.:

De construction

2. La puissance de chauffage de l'extracteur: 300W × 2

3. Alimentation électrique: AC (220 V ± 10V), 50Hz

Remarques: Le client doit préparer l'agitateur magnétique et le titrateur potentiométrique.


De construction Fplats:

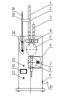
L'instrument est principalement composé de ballon d'extracteur, de bobine de chauffage, de couverture de protection, de condenseur, d'un entonnoir de séparation cylindrique (entonnoir de dépôt), d'un dispositif de serrage, d'une carte de contrôle de température réglable à affichage numérique, d'un support de poteau, d'un poteau, d'un fil supérieur ouble, d'une pince universelle, d'un ballon d'erlenmeyer, etc. La structure est indiquée à gauche:

6E06FAB5073B858BA7469ACAF07336A1





1. Condenseur            9. Commutateur d'alimentation

2. Clip universel          10. Cordon d'alimentation

3. Entonnoir de suppression        11. bouton de réglage de la tension

4. Dispositif de serrage        12. Voltmètre d'affichage numérique

5. Flash Extracteur          13. Indicateur de puissance

6. Couverture protectrice        14. support de poteau

7. Plug Aviation           15. Fil à double haut

8. Bobine de chauffage            16. Pôle



Images détaillées:

Testeur de teneur en sel de pétrole brut-3
Testeur de teneur en sel de pétrole brut-4
Testeur de teneur en sel de pétrole brut-1


sur: 
En vertu d'un: 
Demande de produit

Gold Mechanical & Electrical Equipment

Nous sommes là pour vous offrir des services professionnels, rapides, complets et de grande qualité.
Notre réseau de marketing couvre tous les pays du monde et peut donc fournir aux clients des services de qualité supérieure avant la vente, en vente et après-vente, dans les meilleurs délais.

Des produits

Liens rapides

Copyright © Chongqing Gold Mécanique et électrique Equipment Co., Ltd. Tous les droits sont réservés.Plan du siteSupporté parLeadong.com